By using this site, you agree to the Privacy Policy and Terms of Use.
Accept
MixIndiaMixIndiaMixIndia
  • Home
  • Kerala
  • Film News
  • Tech News
  • Automobile
  • Education
  • Celebrity Profiles
  • Movies
Search
© 2022 Foxiz News Network. Ruby Design Company. All Rights Reserved.
Reading: Microsoft Surface Phone patents a Live Hinge…?
Share
Notification Show More
Font ResizerAa
MixIndiaMixIndia
Font ResizerAa
Search
  • Home
  • Kerala
  • Film News
  • Tech News
  • Automobile
  • Education
  • Celebrity Profiles
  • Movies
Follow US
© 2022 Foxiz News Network. Ruby Design Company. All Rights Reserved.
MixIndia > Blog > News > Technology > Microsoft Surface Phone patents a Live Hinge…?
NewsTechnology

Microsoft Surface Phone patents a Live Hinge…?

Ajith
February 2, 2018 8:45 pm 8:45 pm
Ajith
Share
1 Min Read
SHARE

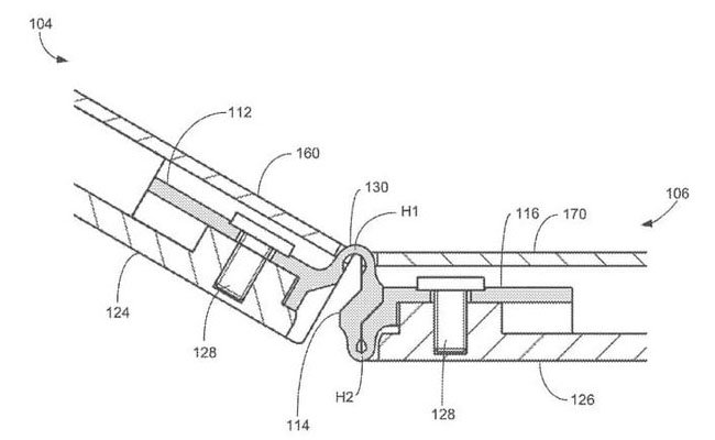
Microsoft has recently patented for a new smartphone design. The patent application details a ‘Live Hinge’, which could potentially be for that of its much rumoured Surface Phone. Well, the ‘Live Hinge’ allows the device’s two screens to be opened up seamlessly into one single screen. The presence of the hinge allows the device to have a full 360 degree rotation, and would have three screen modes.

As reported by The Verge in December, last year, with the ‘Live Hinge’, Microsoft might come out with a tablet.

You Might Also Like

Can Akhil Marar and Jinto be compared? Jasmine took over the show after Rocky left
Amazon looking to buy 60 percent stake in Flipkart
Telugu version of Bigg Boss with shocking announcement to the fans, astonished the audience
Militants clash in Jammu and Kashmir ; 5 Security Personnel killed
Omar Lulu directorial ‘Power Star’ first look poster out!! Babu Antony looks stylish
TAGGED:Microsoft patent live hinge featuresMicrosoft Surface Phone live hinge

Sign Up For Daily Newsletter

Be keep up! Get the latest breaking news delivered straight to your inbox.
[mc4wp_form]
By signing up, you agree to our Terms of Use and acknowledge the data practices in our Privacy Policy. You may unsubscribe at any time.
Share This Article
Facebook Twitter Copy Link Print
Share
ByAjith
Follow:
AJith, Author at Mixindia.com. Over 5 years experience in news content writing.
Previous Article Gionee India operations to be halted…?
Next Article A new ‘Google Feed’ for ‘Google Now Launcher’

Stay Connected

235.3kFollowersLike
69.1kFollowersFollow
11.6kFollowersPin
56.4kFollowersFollow
136kSubscribersSubscribe
4.4kFollowersFollow

Latest News

The then WCC was Lalita chechi, if there was any problem, if you complained to Lalita chechi, it would happen - Lal Jose remembers
The then WCC was Lalita chechi, if there was any problem, if you complained to Lalita chechi, it would happen – Lal Jose remembers
Film News News
October 17, 2024 10:41 am
A fan cycled 1,600 km from Uttar Pradesh to Hyderabad to meet Allu Arjun.
A fan cycled 1,600 km from Uttar Pradesh to Hyderabad to meet Allu Arjun.
Film News News
October 17, 2024 4:35 am
Bala's ex-wife reacts amid controversy, ex-wife says they don't want those things and should be allowed to live peacefully
Bala’s ex-wife reacts amid controversy, ex-wife says they don’t want those things and should be allowed to live peacefully
Film News News
October 17, 2024 3:34 am
Everything heard is true, that actor in the lead role in the movie Empuran; Malayalam's two superstars are reuniting
Everything heard is true, that actor in the lead role in the movie Empuran; Malayalam’s two superstars are reuniting
Film News News
October 17, 2024 2:33 am
//

We influence 20 million users and is the number one business and technology news network on the planet

Sign Up for Our Newsletter

Subscribe to our newsletter to get our newest articles instantly!

[mc4wp_form id=”847″]

© 2024 Mixindia. All Rights Reserved.
Welcome Back!

Sign in to your account